耐震全不锈钢安全压力表YTQN-63(充液) 适用于必须选用带有安全隔爆层的坚固安全型压力表的各种场合。 用于测量腐蚀性的、不滞粘的和不结晶的气体或液体介质的压力。
![]() |
![]() |
![]() |
![]() |
![]() |
![]() |
![]() |
| 发布时间:2021-06-04 | ||||||


|
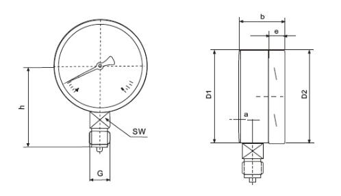
表圆直径 (φD) |
外形尺寸 |
重量 (kg) |
|||||||||
| a | b | b1 | D1 | D2 | e | f | G | h | SW | ||
| 63 | 17.5 | 42 | 42 | 63 | 63 | 14.5 | 18.5 | G1/4A | 53 | 14 | 0.2 |
走进奥信
公司简介 联系我们解决方案
技术文章 行业应用我们的理念
用科技创新的理念撰写辉煌篇章,向世界展现一幅优品的设计蓝图。
专注的态度成就专业的品质,西安奥信与您携手追求时尚品。
购买的愉悦不仅仅是获得,更是其中的服务,以温馨的服务带来全新的体验。