产品介绍
ZCZH/ZCZG高温高压电磁阀用于各种中温、高温、常压、高压场合,适用于中高温热水、高温蒸汽、饱和蒸汽、过热蒸汽及导热油等管路的自动控制;广泛应用于窑炉设备、干燥设备、石油化工、生物制药、暖通空调、电镀涂装、橡塑机械、食品饮料、造纸、印染及电力矿业等行业,是自动化控制工程、项目改造及设备配套的产品。
特点
耐高温:采用金属硬密封,提高了使用温度。
耐磨:选材合理,阀杯和导向套间巧秒地利用流体的润滑作用,减少磨损。
结构原理
工作原理:电磁阀电磁铁通电时,连杆被提升,带动转轴转动,副阀打开。由于副阀被开启,主阀阀杯上部的压力流体被排出,因此主阀阀杯下部的压力比上部高,这样下部的压力将主阀阀杯向上推开。主阀被打开后,上下压力相等,阀杯在电磁力、上下压力作用下,置于平衡状态,阀门开通。断电时在衔铁自重及返回弹簧作用下,关下副阀,副阀关闭后,随之主阀阀杯上部的压力升高而将主阀阀杯压下,达到断流密封作用,阀门关闭。
ZCZG/ZCZH 高温高压电磁阀,压力4Mpa ,温度400℃
技术参数
| 介质温度℃ | ZCZG | ≤250 | ||||||||
| ZCZH | ≤400 | |||||||||
|
公称压力 (MPa) |
ZCZG | 2.5 | ||||||||
| ZCZH | 4.0 | |||||||||
|
工作压差 (MPa) |
ZCZG | 0.1~2.5 | ||||||||
| ZCZH | 0.1~4.0 | |||||||||
|
公称通径 (mm) |
10 | 15 | 20 | 25 | 32 | 40 | 60 | 65 | 80 | 100 |
| 功耗 | 0.15KVA | 0.46KVA | 0.15KVA | |||||||
| 电源电压 | AC220V其余规格可作特殊订货 | |||||||||
|
额定流量系数 (KV) |
按JB/T7352-94规定 | |||||||||
| 泄漏量(m/min) | 按JB/T7352-94·F规定 | |||||||||
| 选型表 | |||||
|
产品 型号 |
公称压力 (MPa) |
公称通径 (mm) |
介质温度 组别 |
介质 种类 |
作用 方式 |
| □- | □- | □- | □- | □- | □- |
| ZCZG | 2.5MPa | 10 | 1表示60℃ | 缺省-气体 | 缺省-常闭 |
| ZCZH | 4.0MPa | 15 | 2表示180℃ | Y-液体 | K-常开 |
|
4MPa仅适用于 ZCZH系列 其它低压场合 压力等级可定制 |
20 | 3表示250℃ | |||
| 25 | 4表示400℃ | ||||
| 32 |
400℃ 仅适用于 ZCZH系列 |
||||
| 40 | |||||
| 60 | |||||
| 65 | |||||
| 80 | |||||
| 100 | |||||
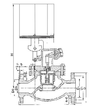
安装尺寸图

| DN | L | H | D | D1 | D2 | D3 | b | f1 | f | n-d |
| 10 | 160 | 298 | 90 | 60 | 34 | 41 | 16 | 4 | 2 | 4-Φ14 |
| 15 | 160 | 298 | 95 | 65 | 39 | 45 | 16 | 4 | 2 | 4-Φ14 |
| 20 | 200 | 304 | 105 | 75 | 50 | 55 | 16 | 4 | 2 | 4-Φ14 |
| 25 | 200 | 304 | 115 | 85 | 57 | 65 | 16 | 4 | 2 | 4-Φ14 |
| 32 | 200 | 314 | 140 | 100 | 65 | 78 | 18 | 4 | 2 | 4-Φ18 |
| 40 | 260 | 460 | 150 | 110 | 75 | 85 | 18 | 4 | 3 | 4-Φ18 |
| 50 | 300 | 460 | 165 | 125 | 87 | 100 | 20 | 4 | 3 | 4-Φ18 |
| 65 | 290 | 433 | 185 | 145 | 109 | 120 | 22 | 4 | 3 | 8-Φ18 |
| 80 | 310 | 433 | 200 | 160 | 120 | 135 | 22 | 4 | 3 | 8-Φ18 |
| 100 | 350 | 461 | 235 | 190 | 149 | 160 | 24 | 4.5 | 3 | 8-Φ22 |
走进奥信
公司简介 联系我们解决方案
技术文章 行业应用我们的理念
用科技创新的理念撰写辉煌篇章,向世界展现一幅优品的设计蓝图。
专注的态度成就专业的品质,西安奥信与您携手追求时尚品。
购买的愉悦不仅仅是获得,更是其中的服务,以温馨的服务带来全新的体验。