产品介绍
ZCZP蒸汽电磁阀适用范围于以蒸汽为加热介质,进行温度自动控制的执行机构。可对蒸汽加热器、散热器、干燥器等蒸汽设备及各类温度自控仪、蒸汽定型机、蒸染机、蒸汽回潮机等成套设备的锅炉蒸汽管道进行二位式自动控制和远程控制区。广泛应用于染化、纺织、印染、食品、医药、卷烟、水泥制品、石油化工、冶金等部门的自控系统。
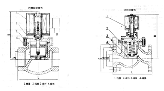
结构原理
大口径活塞电磁阀是由副阀和主阀两大部件构成的先导式二次开阀的电磁阀。是靠副阀的启闭来控制主阀的通断。根据断电时所处开关状态的不同,可分为常闭电磁阀和常开电磁阀。常闭电磁阀,在断电常位时,副阀口封闭,主阀呈断路,当电讯号进入导阀线圈时,活动铁芯受电磁力作用吸上打开副阀口,主阀阀杯内压力迅速消失,介质压力将主阀阀杯托上,开启主阀口,工作介质硬可流通。但当电讯号消失时,活动铁芯复位,封闭住副阀口,工作介质自平衡孔进入阀杯内,当压力趋于平衡时,靠主阀弹簧、阀杯自重及介质压力使阀杯下移,严密封住主阀口,阀又呈关闭状态。常开电磁阀,在断电常位时,由弹簧作用,副阀口打开,主阀流通。当电讯号进入副阀线圈时,活动铁芯受电磁作用吸下,副阀口封闭,工作介质经平衡孔进入阀杯内,当压力趋于平衡时,靠主阀弹簧、阀杯自重及介质压力使阀杯下移,严密封主阀口,阀门呈关闭状态。当主阀断电时,电磁力消失,副阀打开,主阀杯内压力迅速消失,介质压力将主阀阀杯托上,开启主阀口,介质流通,阀呈开启状态。
主要特点
耐热:电磁部分、密封件部分用特种耐调温电工材料和密封材料,并应用了各种隔热措施。
耐磨:选材合理,阀杯和导向套间巧妙地利用流体的润滑作用,减少磨损
耐冷凝:蒸 汽管道的冷凝水是影响蒸汽电磁阀动作的重要因素,本阀则不受冷凝水影响。
ZCZP/ZCLF:铸钢电磁阀,温度:0-200度,压力:1.6Mpa
常用型号
ZCZP-25 ZCZP-32 ZCZP-40 ZCZP-40 ZCZP-50 ZCZP-65 ZCZP-80
ZCZP-100 ZCZP-125 ZCZP-150 ZCZP-200
技术参数
| 项目 | 说明 | ||||||||||
| 工作介质 | 蒸汽及其它无腐蚀性气体 | ||||||||||
| 介质温度(℃) | ≤200 | ||||||||||
| 公称压力(MPa) | 1.6 | ||||||||||
| 工作压差(MPa) | 0.05~1.6 | 0.10~1.6 | |||||||||
| 电源电压 | AC220V其余规格可作特殊订货 | ||||||||||
| 使用寿命(万次) | ≥10 | ≥5 | ≥3 | ||||||||
| 公称通径(mm) | 15 | 20 | 25 | 32 | 40 | 50 | 65 | 80 | 100 | 125 | 150 |
| 额定流量系数(KV) | 2.8 | 5 | 8.5 | 12 | 18 | 28 | 45 | 70 | 110 | 180 | 250 |
| 泄漏量(ml/min) | 1.5 | 3 | 4.5 | 6 | 9 | 17 | 28 | 40 | |||
| 功耗 | 50VA | ||||||||||

安装尺寸

|
公称通径 DN |
内螺纹连接 | 法兰连接 | |||||||||
| 外形尺寸 | 内螺纹 | 外形尺寸 | 法兰尺寸 | ||||||||
| H | L | G | H | L | D | D1 | D2 | b | f | n-d | |
| 15 | 148 | 92 | 1/2 | 176 | 130 | 65 | 65 | 46 | 14 | 2 | 4-Φ14 |
| 20 | 148 | 92 | 3/4 | 181 | 150 | 105 | 75 | 56 | 16 | 2 | 4-Φ14 |
| 25 | 148 | 110 | 1 | 210 | 160 | 115 | 85 | 65 | 16 | 3 | 4-Φ14 |
| 32 | 182 | 120 | 11/4 | 221 | 180 | 140 | 100 | 76 | 18 | 3 | 4-Φ18 |
| 40 | 182 | 140 | 11/2 | 230 | 200 | 150 | 110 | 84 | 18 | 3 | 4-Φ18 |
| 50 | 192 | 162 | 2 | 252 | 230 | 165 | 125 | 99 | 20 | 3 | 4-Φ18 |
| 65 | 265 | 290 | 185 | 145 | 118 | 20 | 3 | 4-Φ18 | |||
| 80 | 276 | 310 | 200 | 160 | 132 | 20 | 3 | 8-Φ18 | |||
| 100 | 373 | 350 | 220 | 180 | 156 | 22 | 3 | 8-Φ18 | |||
| 125 | 416 | 400 | 250 | 210 | 184 | 22 | 3 | 8-Φ18 | |||
| 150 | 440 | 480 | 285 | 240 | 211 | 24 | 3 | 8-Φ22 | |||
走进奥信
公司简介 联系我们解决方案
技术文章 行业应用我们的理念
用科技创新的理念撰写辉煌篇章,向世界展现一幅优品的设计蓝图。
专注的态度成就专业的品质,西安奥信与您携手追求时尚品。
购买的愉悦不仅仅是获得,更是其中的服务,以温馨的服务带来全新的体验。